Zahnraddarstellung 26.07.2008, 12:03
Die naturgetreue Darstellung eines Zahnrads wäre sehr aufwändig. Deshalb werden Zahnräder vereinfacht gezeichnet. Wir zeigen, nach welchen Regeln man dabei vorgeht ("Zeichenregeln").
»So zeichnet man‘s«
1. Einzelrad
Zahnräder werden stark vereinfacht gezeichnet.
a) Stirnrad von außen (siehe Bild unten)
b) Stirnrad im Schnitt (links)
Zeichenregeln
Die naturgetreue Darstellung eines Zahnrads wäre sehr aufwändig. Deshalb werden Zahnräder vereinfacht gezeichnet.
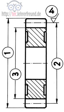
Begriffe am Zahnrad:
Durchmesser 1 = Kopfkreisdurchmesser
Durchmesser 2 = Teilkreisdurchmesser
Durchmesser 3 = Fußkreisdurchmesser
In der Ansicht wird das Zahnrad gezeichnet, als ob es keine Zähne besäße, d. h. der Kopfkreisdurchmesser ist eine fette, durchgezogene Linie.
Der Teilkreisdurchmesser als Bezugslinie für die Verzahnung wird in alle Ansichten als strichpunktierte Mittellinie eingezeichnet.
Den Fußkreisdurchmesser lässt man bei Außenansichten ganz weg, bei Schnittdarstellung wird er als breite Vollinie gezeichnet.
Um die Verzahnung herstellen zu können, sind in der Zeichnung folgende Angaben erforderlich: Kopfkreisdurchmesser da, Teilkreisdurchmesser d, Fußkreisdurchmesser df, Modul und Zähnezahl. Modul und Zähnezahl werden in der Nähe des Zahnrads auf das Blatt geschrieben.
2. Radpaar
Für die Darstellung von Zahnradpaaren gelten die Regeln für Einzelzahnräder.
Stirnräder: Bei Zahnradpaaren berühren sich die Teilkreise. In der Schnittdarstellung wird ein Zahn sichtbar, der Gegenzahn verdeckt mit Strichlinien gezeichnet. In Ansichten dagegen zeichnet man im Eingriffsbereich beide Räder komplett.
Bei Kegelrädern verdeckt in der Ansicht das kleinere Rad das größere teilweise. In diesem Bereich wird nur der Teilkreis des verdeckten Rads durchgezogen. Für geschnittene Kegelräder gilt das bei den Stirnrädern Gesagte. Die Kegelmittellinien werden bis zum Schnittpunkt der Radachsen verlängert.
In Gruppen- und Gesamtzeichnungen werden Zahnräder oft vereinfacht dargestellt. Man begnügt sich dabei mit den Kopf- und Teilkreisen.
Aufgaben zum Zeichnen von Zahnrädern
