Eine Patentschrift analysieren (1): Bearbeitungsschritte 17.10.2014, 06:56
In diesem Beitrag und zwei weiteren Beiträgen befassen wir uns mit einer Patentanmeldung beim Europäischen Patentamt (EPA). Wir lesen den beim EPA eingereichten Originaltext und versuchen, ihn mithilfe der dazugehörigen Zeichnungen zu verstehen. In den zwei weiteren Beiträgen analysieren wir den Text.
Fahrradpedalvorrichtung
In diesem Beitrag und zwei weiteren Beiträgen befassen wir uns mit einer Patentanmeldung beim Europäischen Patentamt (EPA). Internetadresse: http://www.epo.org/index_de.html
Unser Ziel: Den Text, der das Patent beschreibt, und die dazu gehörigen erläuternden Zeichnungen analysieren.
Der tec.LEHRERFREUND dankt dem EPA dafür, dass es die Erlaubnis gab, das Beispiel einer Fahrradpedalvorrichtung zu übernehmen. Im Internet ist sie zu finden unter:
http://documents.epo.org/projects/babylon/eponet.nsf/0/8266ED0366190630C12575E10051F40E/$File/guide_for_applicants_part1_10_13_de.pdf
In ihrer Schrift »Der Weg zum europäischen Patent – Leitfaden für Anmelder« gibt die Patentbehörde eine ausführliche Anleitung, was Erfinder beachten und wie sie ihr Werk beim EPA präsentieren sollten.
Auf der Grundlage der Anmeldung einer Fahrradpedalvorrichtung wollen wir die folgenden drei Schritte ausführen:
1. Den beim EPA eingereichten Originaltext lesen und ihn mithilfe der dazugehörigen Zeichnungen verstehen.
2. Den gelesenen Text und die dazugehörigen Zeichnungen analysieren.
3. Einen Vorschlag machen, wie wir es eventuell anders gemacht hätten.
[Anmerkung des tec.LFs: Vom EPA erfahren wir in der o. g. Schrift nichts über den Anmelder, auch nicht über dessen Nationalität.]
Was wir nicht tun werden: Wir werden die Erfindung als solche nicht kritisieren oder zu verbessern versuchen. Sie ist das Werk eines Menschen, das wir in der eingereichten Form zu akzeptieren haben.
Dies soll uns nicht daran hindern, notfalls kritische Fragen dazu zu äußern.
Zum Leitfaden des EPA:
Für Erfinder enthält er auf 135 Seiten unter anderem folgende Informationen:
A. Allgemeiner Teil: Info über das Europäische Patentübereinkommen
B. Patentierbarkeit:
– Was ist eine Erfindung, was nicht?
– Was ist eine Neuheit?
– Wie sind ältere Anmeldungen zu berücksichtigen?
– usw.
C. Erstellung und Einreichung der europäischen Patentanmeldung:
– Wer kann eine europäischen Patentanmeldung einreichen?
– In welchen Sprachen müssen Patentanmeldungen geschrieben sein?
– Darstellung der Erfindung
– usw.
D. Das europäische Patentanmeldungs-Verfahren
_______________
Aufgaben
Fahrradpedalvorrichtung
1. Lesen Sie den beim EPA eingereichten Originaltext und versuchen Sie, ihn mithilfe der dazugehörigen Zeichnungen zu verstehen.
[Anmerkungen des tec. LFs: Wir haben den Text nicht in seiner ganzen Länge übernommen. Die Überschriften in grüner Farbe sind eine Vorgabe des EPA, die dem Einreicher die Beschreibung seiner Erfindung erleichtern sollen.]
Wortlaut der Original-Patentschrift
Erfindungsbezeichnung
Fahrradpedalvorrichtung
Technisches Gebiet, auf die sich die Erfindung bezieht
Die vorliegende Erfindung betrifft eine Pedalvorrichtung und insbesondere eine Fahrradpedalvorrichtung.
Einschlägiger Stand der Technik
Eine konventionelle Fahrradpedalvorrichtung gemäß dem in Fig. 10 gezeigten Stand der Technik umfasst eine Kurbel (60), zwei Pedale (61), ein Kettenrad (62) und eine Kette (64). Wird die Kurbel (60) von den Pedalen (61) angetrieben, so wird das Kettenrad (62) durch die Kurbel (60) in Rotation versetzt und so die Kette (64) angetrieben, sodass sich das Fahrrad in Bewegung setzt. Der Kraftarm zwischen dem Zentrum des Kettenrads (62) und jedem der Pedale (61) ist jedoch kürzer, sodass der Radfahrer stärker in die Pedale (61) treten muss, um das Fahrrad zu bewegen, wobei Energieaufwand und manueller Aufwand des Radfahrers unverhältnismäßig hoch sind.

Zu lösende technische Aufgabe
Mit der vorliegenden Erfindung soll eine Pedalvorrichtung und insbesondere eine Fahrradpedalvorrichtung bereitgestellt werden, die dem Radfahrer eine energiesparende Bedienung der Pedale ermöglicht.
Offenbarung der Erfindung
Gemäß der vorliegenden Erfindung wird eine Pedalvorrichtung bereitgestellt, die Folgendes umfasst: eine Halteaufnahme, eine Drehachse, die an einem ersten Ende der Halteaufnahme drehbeweglich gelagert ist, ein Kettenrad, das an der Drehachse befestigt ist und von dieser gedreht wird, zwei einander gegenüberliegende Sperrräder, die jeweils auf der Drehachse gelagert sind, um die Drehachse zu drehen, zwei einander gegenüberliegende Antriebselemente, die jeweils ein erstes Ende, das mit einer Sperrradhülse ausgebildet ist, die auf ein jeweiliges Sperrrad aufgesetzt ist, um das jeweilige Sperrrad in nur einer Richtung zu drehen, und ein zweites Ende aufweisen, das mit einer längserstreckten Gleitschiene ausgebildet ist, eine Kurbel, die drehbeweglich auf einem zweiten Ende der Halteaufnahme gelagert ist, zwei einander gegenüberliegende Antriebsachsen, die an zwei entgegengesetzten Seiten der Kurbel befestigt sind, um die Kurbel zu drehen, zwei Pedale, die jeweils drehbeweglich auf einer entsprechenden Antriebsachse gelagert sind, und zwei einander gegenüberliegende Gleitaufnahmen, die jeweils drehbeweglich auf eine entsprechende Antriebsachse aufgesetzt sind, um sich gemeinsam mit dieser zu bewegen, und die jeweils gleitbeweglich in die Gleitschiene eines entsprechenden Antriebselements eingesetzt sind.
Von Vorteil ist, dass die Antriebselemente einen längeren Kraftarm zwischen Kurbel und Kettenrad aufweisen, wodurch das Drehmoment der Pedalvorrichtung gesteigert wird, sodass sich Energieaufwand und manueller Aufwand des Radfahrers reduzieren.
Weitere Vorteile der vorliegenden Erfindung sind aus der detaillierten Beschreibung und den Zeichnungen ersichtlich.
Kurze Beschreibung der Zeichnungen
Beschreibung der Zeichnungen:
Fig. 1 ist eine perspektivische Ansicht einer Pedalvorrichtung gemäß der bevorzugten Ausführungsform der vorliegenden Erfindung.

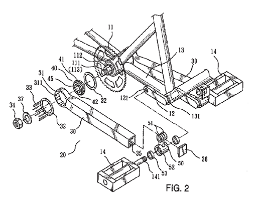
Fig. 2 ist eine perspektivische Explosionsdarstellung der in Fig. 1 abgebildeten Pedalvorrichtung.

Fig. 3 ist eine planare Darstellung der in Fig. 1 abgebildeten Fahrradpedalvorrichtung.

Fig. 4 ist eine planare Darstellung der in Fig. 1 abgebildeten Pedalvorrichtung im Querschnitt.
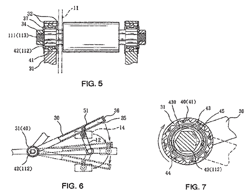
Fig. 5 ist eine planare Darstellung der in Fig.1 abgebildeten Pedalvorrichtung im Querschnitt.

Fig. 6 ist eine planare Betriebsansicht der in Fig.1 abgebildeten Pedal vorrichtung im Querschnitt.
Fig. 7 ist eine lokal vergrößerte Ansicht der in Fig. 6 abgebildeten Pedalvorrichtung.
Fig. 8 ist eine schematische Betriebsansicht der in Fig. 6 abgebildeten Pedalvorrichtung.

Fig. 9 ist eine schematische Betriebsansicht der in Fig. 7 abgebildeten Pedalvorrichtung.
Fig. 10 ist eine perspektivische Ansicht einer konventionellen Fahrradpedalvorrichtung gemäß dem Stand der Technik.
Beschreibung mindestens eines Wegs zur Ausführung der Erfindung
Im Folgenden wird auf die Zeichnungen und zunächst auf Fig. 1 - 7 Bezug genommen. Demnach umfasst eine Pedalvorrichtung (20) für ein Fahrrad (10) gemäß der bevorzugten Ausführungsform der vorliegenden Erfindung eine Halteaufnahme (13), eine Drehachse (111), die an einem ersten Ende der Halteaufnahme (13) drehbeweglich gelagert ist, ein Kettenrad (11), das an der Drehachse (111) befestigt ist und von dieser gedreht wird, zwei einander gegenüberliegende Sperrräder (40), die jeweils auf der Drehachse (111) gelagert sind, um die Drehachse (111) zu drehen, zwei einander gegenüberliegende Antriebselemente (30), die jeweils ein erstes Ende, das mit einer Sperrradhülse (31) ausgebildet ist, die auf ein jeweiliges Sperrrad (40) aufgesetzt ist, um das jeweilige Sperrrad (40) in nur einer Richtung zu drehen, und ein zweites Ende aufweisen, das mit einer längserstreckten Gleitschiene (35) ausgebildet ist, eine Kurbel (12), die drehbeweglich auf einem zweiten Ende der Halteaufnahme (13) gelagert ist, zwei einander gegenüberliegende Antriebsachsen (141), die an zwei entgegengesetzten Seiten der Kurbel (12) befestigt sind, um die Kurbel (12) zu drehen, zwei Pedale (14), die jeweils drehbeweglich auf einer entsprechenden Antriebsachse (141) gelagert sind und zwei einander gegenüberliegende Gleitaufnahmen (50), die jeweils drehbeweglich auf eine entsprechende Antriebsachse (141) aufgesetzt sind, um sich gemeinsam mit dieser zu bewegen, und die jeweils gleitbeweglich in die Gleitschiene (35) eines entsprechenden Antriebselements (30) eingesetzt sind. Die Drehachse (111) weist zwei einander entgegengesetzte Enden auf, die jeweils mit einem sechseckigen Befestigungsbolzen (112) und einem Gewinde (113) ausgebildet sind. Jedes der Sperrräder (40) weist Folgendes auf: einen Innenabschnitt (45), der mit einer sechseckigen Befestigungsbohrung (42) ausgebildet ist, die auf dem Befestigungsbolzen (112) der Drehachse (111) gesichert ist, um die Drehachse (111) zu drehen, elnen Außenabschnitt (43), der drehbeweglich auf den Innenabschnitt (45) aufgesetzt ist und eine mit einer Antriebsverzahnung (41) ausgebildete Außenwand aufweist, und eine Innenwand, die mit einer Mehrzahl von Verrastungsnuten (430) ausgebildet ist, und eine Mehrzahl von Einrichtungs-Sperrklinken (44) auf weist, die jeweils ein erstes Ende, das drehbeweglich auf dem Innenabschnitt (45) gelagert ist, und ein zweites Ende aufweisen, das in die zugeordnete Verrastungsnut (430) des Außenabschnitts (43) eingreift.
Die Sperrradhülse (31) von jedem der Antriebselemente (30) weist eine mit einer Antriebsverzahnung (311) ausgebildete Innenwand auf, die mit der Antriebsverzahnung (41) des entsprechenden Sperrrads kämmt, um das entsprechende Sperrrad (40) zu drehen. Die Sperrradhülse (31) von jedem der Antriebselemente (30) ist mit dem zugeordneten Sperrrad (40) über zwei einander gegenüberliegende Dichtungsringe (32) verbunden, die sich auf zwei gegenüberliegenden Seiten der Sperrradhülse (31) von jedem der Antriebselemente (30) befinden und mittels einer Mehrzahl von Nieten (33) befestigt sind.
Die Pedalvorrichtung (20) umfasst außerdem zwei Unterlagscheiben (37), die jeweils auf ein entsprechendes Gewinde (113) der Drehachse (111) aufgesetzt sind und jeweils auf einem entsprechenden Sperrrad (40) gelagert sind, und zwei Muttern (34), die jeweils auf ein entsprechendes Gewinde (113) der Drehachse (111) aufgeschraubt sind und auf einer entsprechenden Unterlagscheibe (37) aufliegen.
Das zweite Ende der Halteaufnahme (13) ist mit einer Drehbohrung (131) ausgebildet. Die Kurbel (12) ist drehbeweglich in der Drehbohrung (131) der Halteaufnahme (13) gelagert. Jede der beiden Seiten der Kurbel (12) weist ein distales Ende mit einer Gewindebohrung (121) auf. Jede der beiden Antriebsachsen (141) weist ein mit einem Gewinde versehenes distales Ende auf, das in die zugordnete Gewindebohrung (121) der Kurbel (12) geschraubt ist, um jede der Antriebsachsen (141) an der Kurbel (12) zu befestigen.
Jede der beiden Gleitaufnahmen (50) weist ein erstes Ende auf, das mit zwei Lagern (51) versehen ist, die gleitbeweglich in die Gleitschiene (35) des zugeordneten Antriebselements (30) eingesetzt sind, und ein zweites Ende, das mit einer Hülse (52) zum Lagern von zwei zweiten Lagern (53) versehen ist, die jeweils drehbeweglich auf der zugeordneten Antriebsachse (141) gelagert sind. Die ersten Lager (51) von jeder der beiden Gleitaufnahmen (50) sind hinsichtlich ihrer Bewegungsfreiheit in der Gleitschiene (32) des zugeordneten Antriebselements (30) durch eine Endkappe (36) begrenzt, die auf ein offenes Ende der Gleitschiene (35) aufgesetzt ist, um zu verhindern, dass die ersten Lager (51) von jeder der beiden Gleitaufnahmen (50) sich von der Gleitschiene (35) des zugeordneten Antriebselements (30) lösen.
Bei Betrieb des Fahrrads (siehe Fig. 1- 9), d. h. wenn der Radfahrer die Pedale (14) bedient, wird die Kurbel (12) in Rotation versetzt und bewegt so die bei den Gleitaufnahmen (50) aufwärts und abwärts. Dadurch treibt sie die Antriebselemente (30) an, damit diese sich aufwärts und abwärts bewegen (siehe Fig. 6), sodass die Sperrradhülse (31) jedes der Antriebselemente (30) gedreht wird, um das entsprechende Sperrrad (40) in Rotation zu versetzen.
Wird eines der Antriebselemente (30) abwärts bewegt, dreht sich das entsprechende Sperrrad (40) im Uhrzeigersinn (siehe Fig. 7) und dreht damit den Außenabschnitt (43). Dabei greifen die Einrichtungs-Sperrklinken (44) jedes der Sperrräder (40) in die Verrastungsnuten (430) des Außenabschnitts (43) ein, sodass der Innenabschnitt (45) vom Außenabschnitt (43) angetrieben und gedreht wird, um die Befestigungsbohrung (42) zu drehen, die wiederum den Befestigungsbolzen (112) der Drehachse (111) und damit die Drehachse (111) dreht. Die Drehung des Sperrrads (40) im Uhrzeigersinn bewirkt also, dass sich die Drehachse (111) und dadurch das Kettenrad (11) drehen und das Fahrrad sich in Bewegung setzt.
Wird hingegen eines der Antriebselemente (30) aufwärts bewegt (siehe Fig. 8), dreht sich das entsprechende Sperrrad (40) und damit der Außenabschnitt (43) gegen den Uhrzeigersinn (siehe Fig. 9). Dabei lösen sich die Einrichtungs-Sperrklinken (44) jedes der Sperrräder (40) aus den Verrastungsnuten (430) des Außenabschnitts (43), sodass der Innenabschnitt (45) nicht vom Außenabschnitt (43) gedreht wird und der Außenabschnitt (43) sich im Leerlauf dreht. Die Drehung des Sperrrads (40) gegen den Uhrzeigersinn stoppt also die Drehung der Drehachse (111), sodass sich auch das Kettenrad (11) nicht mehr dreht.
So wird, wenn eines der Antriebselemente (30) aufwärts bewegt wird (siehe Fig. 8), das andere Antriebselement (30) abwärts bewegt (siehe Fig. 6), sodass das Kettenrad (11) sukzessive gedreht wird und das Fahrrad sich in Bewegung setzt.
Entsprechend weisen die Antriebselemente (30) zwischen Kurbel (12) und Kettenrad (11) einen längeren Kraftarm auf, um das Drehmoment der Pedalvorrichtung (20) zu steigern, sodass der Radfahrer die Pedale energiesparend bedienen kann und sich sein Energieaufwand und sein manueller Aufwand reduzieren.
Die Erfindung wurde zwar anhand ihrer bevorzugten Ausführungsform(en) erläutert, doch es können viele weitere Änderungen und Variationen vorgenommen werden, ohne über den Umfang der vorliegenden Erfindung hinauszugehen. Daher ist es vorgesehen, dass die beiliegenden Patentansprüche Änderungen und Variationen abdecken, die im tatsächlichen Umfang der Erfindung enthalten sind.