Fliehkraftkupplung 2: Gesamtzeichnung 30.11.2017, 07:00
Im Beitrag Fliehkraftkupplung 1 wurden Aufgabe und Wirkungsweise einer Fliehkraftkupplung behandelt. Diese Informationen zusammen mit Skizzen der Bauteile verwenden wir, um eine Gesamtzeichnung herzustellen.
Fliehkraftkupplung 2
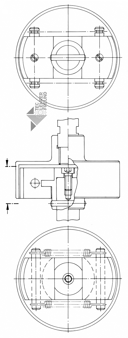
Hier finden Sie einen Vorschlag für die Gesamtzeichnung.
Im Beitrag 1 erhielten wir folgende Informationen:
Der Antrieb besteht aus
1 Antriebswelle
1 Führungsbuchse
1 Zylinderschraube m. Innensechskant M 6 x 15 - DIN 7984
1 Zylinderstift 5 x 30 - DIN EN ISO 2338
2 Fliehgewichte
2 Gewindestifte M 5 x 10 - DIN EN 27434
2 Federachsen
2 Zugfedern
Die maximale Drehzahl des Antriebs ist n = 500 1/min
Der Abtrieb besteht aus
1 Kupplungsglocke
1 Abtriebswelle
Die Zugfedern sollten nur in der Seitenansicht von rechts dargestellt werden. In Seitenansicht von links genügt es, wenn deren Mittellinien zwischen den beiden Federachsen gezeichnet werden.
Dazu folgende Anmerkungen:
• Funktion: In Ruhestellung sitzen die Fliehgewichte auf den Schlüsselflächen (Abstand 24) der Führungsbuchse auf.
• Die Kupplungsbeläge sind aufgeklebt.
• Nicht gezeichnet in der Vorderansicht ist der im Fliehgewicht sitzende Gewindestift mit Spitz. Damit er die Federachse sicher hält, wird diese angebohrt.

Um eine Ahnung davon zu erhalten, mit welchen Kräften wir hier umgehen, berechnen wir noch, mit welcher Kraft ein Fliehgewicht bei einer Drehzahl n1 = 400 U/min auf die Kupplungsglocke drückt. Die Masse des Fliehgewichts berechnen wir überschlägig als Stahlklotz mit den Abmessungen Breite 36 mm x Dicke 26 mm x Höhe 30 mm.
Die Fliehkraft soll angenommen in der Mitte der Federachsen angreifen, also auf einem Radius von r0 = 28 mm. Die Vorspannungskraft einer Feder wird mit FFv = 10 N ≈ 1 kg angenommen.
Die Berechnungsformel lautet:
FFl = m • r0 • (2 • π • n)2 – 2 • FF (Einheiten: kg, m, s)
Masse m eines Fliehgewichts m = V • ρ ≈ 0,36 dm • 0,26 dm • 0,30 dm • 7,8 kg/dm3 = 0,219 kg
FFl ≈ 0,219 kg • 0,028 m • (2 • π • 400 min–1 : 60 s/min)2 – 2 • 1 kg ≈ 8,8 kg
Zu der Gesamtrechnung gehört natürlich die Frage, welche Reibkraft an der Trommelinnenseite und welches Reibmoment entsteht. Dazu müsste man auch wissen, wie groß das Abtriebs-Drehmoment sein muss. Das alles wollen wir angehenden Ingenieuren überlassen.
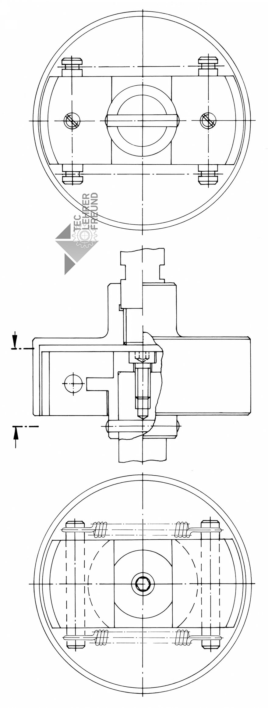
Die nachstehende Zeichnung könnte als Grundzeichnung für ein Aufgabenblatt benutzt werden.
