Bohrmaschinen-Ständer (1): Kräfte berechnen 18.01.2012, 09:37
Im folgenden Aufgabenbeispiel geht es um Kräfte an einem vereinfachten Bohrmaschinen-Ständer. Mit den Aufgaben zum Vorschubhebel und zur Führungsgabel fassen wir zusammen, was in vorausgehenden tec.LEHRERFREUND-Beiträgen zum Thema »Statik« erläutert wurde.
Beachten: Niveau Techn. Gymnasium, Berufskolleg u. Ä.
Im folgenden Aufgabenbeispiel lehnen wir uns an eine Abiturs-Prüfungsaufgabe in Baden-Württemberg an, die wir leicht abgeändert haben. In ihr wurden Aufgaben zum Vorschubhebel und zur Führungsgabel gestellt. Mit der Aufgabe fassen wir zusammen, was in früheren tec.LEHRERFREUND-Beiträgen zum Thema »Statik« erläutert wurde.
Wiederholungen zum Thema Statik
Die Statik ist ein Fachgebiet der Fachrichtungen Maschinenbau und Bauingenieurwesen. Als Teilgebiet der Mechanik befasst sie sich mit dem Gleichgewicht von Kräften an Körpern. Damit ein ruhendes Bauteil in Ruhe bleibt, müssen die Summen aller Kräfte und Momente, die auf dieses Bauteil wirken, Null sein. Dies sind die Gleichgewichtsbedingungen der Statik. Insgesamt bildet die Ermittlung der Kräfte und Momente die Grundlage für die Dimensionierung von Bauwerken und Bauteilen.
Als Schulfach ist Statik ein Stoff, der einiges an Übung verlangt. Die Lösung von Statikaufgaben setzt die Kenntnis der in den Stoffplänen beschriebenen mathematischen Grundlagen voraus. Bei der Behandlung des Stoffs in technischen Schulen geht man daneben von einigen erleichternden Einschränkungen aus:
- Die Reibung wird vernachlässigt, es sei denn, sie soll ausdrücklich berücksichtigt werden.
- Verformungen der Körper unter Beanspruchung und daraus resultierende Maßänderungen bleiben unberücksichtigt.
- Flächenlasten und Flächenlasten werden vereinfacht als Punktbelastungen betrachtet.
- Weil nur in der Ebene liegende Systeme betrachtet werden, gibt es nur drei Gleichgewichtsbedingungen: ΣFx = 0; ΣFy = 0; ΣM = 0.
Statikaufgaben lassen sich in der Regel sicher lösen, wenn man in vier Schritten vorgeht:
- Sich über die Funktion der Baugruppe klar werden
- Das als Aufgabe gestellte Bauteil freimachen
- Das geeignete Kräfteverfahren wählen
- Die Aufgabe lösen
Diese Schritte beschreiben wir im Folgenden näher.
Körper freimachen
Freimachen heißt: Man entfernt von der gewählten Baugruppe alle angrenzenden Baugruppen und ersetzt die zurückbleibenden Verbindungsstellen durch Kräfte. Andere Kräfte in der Nähe des Systems interessieren nicht. Innere Kräfte bleiben unberücksichtigt, weil sie sich aufheben.
Zum Freimachen fertigen wir eine Lageskizze des zu berechnenden Bauteils an.
Was bringt uns die Lageskizze?
- Sie zeigt, ob die Funktion des Bauteils im Gesamtsystem verstanden wurde.
- Sie beweist ohne langes Umschreiben, ob die Aufgabe erfasst und ob die Kräfte richtig eingetragen wurden.
- Sie ist eine verlässliche Grundlage für die rechnerische Lösung.
- Sie ist wenig zeitaufwändig, da sie auch als einfache Freihandskizze ihren Zweck erfüllt.
Voraussetzung für die Lösung einer Aufgabe sind:
- Es muss mindestens eine Kraft gegeben sein.
- Da man mit den drei Gleichgewichtsbedingungen nicht mehr als drei Unbekannte berechnen kann, darf eine Aufgabe höchstens drei unbekannte Größen enthalten.
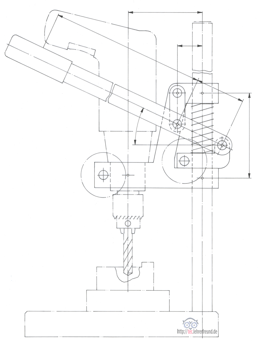
Beispiel: Bohrmaschinenständer
Für unsere Aufgabe sind wichtige Baugruppen/Bauteile:
- die Bohrsäule
- die Führungsgabel
- der Klemmring
- die Druckfeder
- die Lasche
- der Vorschubhebel.
Am Werkzeug, hier dem Bohrer, entsteht beim Bohren die senkrechte Vorschubkraft FV; sie kann auf ihrer Wirklinie in den Punkt C verschoben werden und wirkt damit an der Führungsgabel.
Die weiteren Kraftangriffspunkte sind mit A, B, D, K und L gekennzeichnet.
Folgende Aufgaben sind zu lösen:
Aufgabe 1. Handhebel: FL und FK berechnen.
Aufgabe 2. Führungsgabel: FA, FB, und FV berechnen
Die Lösungen finden Sie im Beitrag »Bohrmaschinen-Ständer (2): Lösung der Kräfte-Aufgaben«
________________
Die Skizze unten ist für die Verwendung in Aufgabenblättern gedacht.

