tec.Lehrerfreund-Info-Brief vom 21.08.2013 21.08.2013, 10:04
Das haben wir dieses Mal für Sie ausgewählt: Technologie: Einblick in Verbindungstechniken wie Schraubenverbindungen und Welle-Naben-Verbindungen. Technisches Zeichnen: Einen weiteren Beitrag zum Freihandzeichnen; Fehlersuche in einer Gruppenzeichnung. Aus dem technischen Alltag: Mähroboter, Tunnelbautechnik. Konstruktionstechnik: Modellieren mit CAD. Skizzen für Arbeitsblätter und Übungsbeispiele am Ende vieler Beiträge können Ihnen den Unterricht erleichtern.
Liebe tec.Lehrerfreund-Leser/innen!
Hier der neue tec.Infobrief vom tec.Lehrerfreund, der Sie über die Beiträge der letzten Zeit informiert. Unten finden Sie einen Ausblick auf die Beiträge der nächsten Wochen.
Viel Spaß beim Lesen!
Die Themen der letzten Wochen:
CAD/MCAD
Fast alle CAD-Anwendungen beherrschen inzwischen die dritte Dimension (3D). Um sie von der herkömmlichen Arbeitsweise abzugrenzen, bezeichnet man sie als MCAD (Mechanical CAD) oder als 3D-CAD. Mit seinen Beiträgen führt der tec.LEHRERFREUND in das Arbeiten mit MCAD ein. Dabei stützt er sich auf 3D-Software von SolidWorks.
In den aktuellen Beispielen geht es um
– grundsätzliches Modellieren von Bauteilen
– Formgebung durch Summieren von Elementarformen und durch Rotation
– Arbeiten mit Referenzebenen
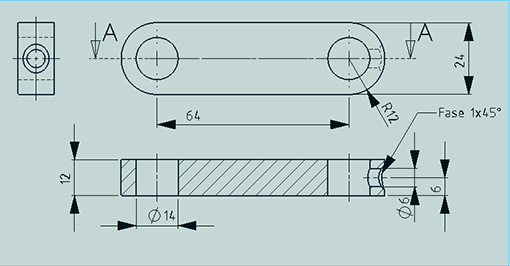
Einige der mit MCAD entwickelten Bauteile:






Fehlersuche in Gesamtzeichnungen
Sich in Gesamtzeichnungen hineinzudenken ist mit geringem zeitlichem Aufwand möglich, wenn die Zeichnung fertig vorliegt, aber Fehler enthält. Fehlersuche an einem Überdruckventil.

Tunnelbohrmaschine
Einblick in das Arbeitsprinzip einer gewaltigen Untertage-Fabrik: Am Gotthardmassiv in der Schweiz entsteht der längste Bahntunnel der Welt. Wie modernste Tunnelbohrmaschinen den Durchstich und den Ausbau der 57 km lange Röhre bewältigen.

Mähroboter
Zwei voraus gehende tec.LEHRERFREUND-Beiträge zum Thema Mähroboter werden durch Beobachtungen eines Anwenders komplettiert.

Freihandzeichnen
Dem Freihandzeichnen ist ein künstlerischer Hintergrund nicht abzusprechen. Das zeigt sich deutlich an den in diesem Beitrag ausgewählten, nicht ganz einfach zu zeichnenden Beispielen: Spiralbohrer, Riementrieb, zylindrische Fase, Sechskant, Schmiedeteil. Die beschriebenen Details helfen Ihnen, solche Freihand-Bauteile zu zeichnen.

Drehmoment - Zahnprofile, Passfedern, Keile
Maschinenelemente wie Zahnräder, Riemenscheiben und Kupplungen müssen Drehmomente übertragen. Dafür benötigt man auf der Antriebsseite Wellenformen oder Bauteile: Zahnprofile, Passfedern, Keile.

Schraubenfestigkeit
Schrauben und Muttern werden Festigkeitsklassen zugeteilt. Diese werden bei Schrauben mit zwei Zahlsymbolen angegeben. Der Beitrag befasst sich allgemein mit der Schraubenfestigkeit.

Auf Wiedersehen!
Wenn diese Beiträge Sie interessieren, abonnieren Sie unseren kostenlosen tec.Info-Brief, um regelmäßig per Mail über Neuigkeiten auf tec.Lehrerfreund informiert zu werden.
Ausblicke auf weitere Beiträge des tec.LEHRERFREUNDs ...
Mehr zur MCAD-Technik, u.A. Teile mit Innen- und Außengewinden. Bauteile miteinander zu Gruppen verbinden. 2D-Zeichnungen von diesen Teilen anfertigen.

Flaschenzüge

Wahre Größen finden
Werden ebene Flächen in Ansichten dargestellt, die schräg zu ihren Projektionsebenen liegen, ist es oft eine Aufgabe, die wahre Größe der Fläche zu ermitteln.

Perspektivisches Zeichnen
... und weitere Technik- oder techniknahe Themen.
Wenn diese Beiträge Sie interessieren, abonnieren Sie unseren kostenlosen Info-Brief, um ungefähr sechsmal pro Jahr per Mail über Neuigkeiten auf tec.Lehrerfreund informiert zu werden.
Mit den besten Grüßen
Ihr
tec.LEHRERFREUND
