Technik und Sprache (9.2): Vortrag Lösung 19.04.2016, 06:23
Bei vielen Verbindungen bietet sich fertigungstechnisch die Durchsteckschraube als einfachste Lösung an. Sie ist nur eine von dreien. Sie sollen im Vortrag ausführlich behandelt werden. Mit Lösungsvorschlag.
Vortrag
Im Vortrag sollen drei gebräuchliche Arten von Schraubenverbindungen vorgestellt werden. Der Vortrag soll keiner bestimmten Unterrichtstechnik folgen, sondern einfach die nachstehend genannten Schwerpunkte beschreiben.
• Schraubverbindungs-Arten
• Schraubverbindungen sind kraftschlüssige Verbindungen,
• Wie man Schraubenverbindungen herstellt,
• Wie man Schraubenverbindungen normgerecht zeichnet,
• Welche Kräfte wirken an Schrauben? Berechnungsbeispiel.
Lösungsvorschlag
Die wichtigsten lösbaren Verbindungen im Maschinenbau sind Schraubenverbindungen. Aufgabe von Schrauben ist es, zwei oder mehr Bauteile kraftschlüssig zu verbinden. Kraftschlüssig heißt: Die Teile (in der Zeichnung blau) werden durch Haftreibung in ihrer jeweiligen Lage gehalten. Die Reibkraft geht von der Presskraft der Schraubverbindung aus.

Beispiele:
- Maschinenfuß auf einem Fundament befestigen
- Autofelge mit der Radnabe verschrauben
- Deckel auf einem Getriebegehäuse befestigen.
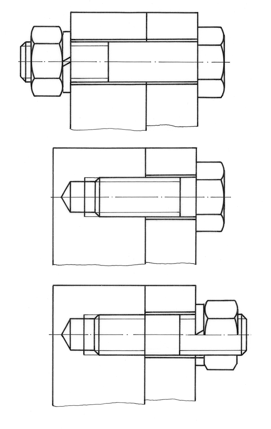
Es gibt drei Möglichkeiten, eine Schraubverbindung herzustellen (Bild oben):
- mit Durchsteckschraube
- mit Einziehschraube
- mit Stiftschraube.
Bei vielen Verbindungen bietet sich fertigungstechnisch die Durchsteckschraube als einfachste Lösung an. So wird sie hergestellt:
- Bohrungsmitten anreißen und körnen
- Durchgangsloch mit einem größeren als dem Schraubendurchmesser bohren (die Durchmesser sind genormt)
- Schraube einstecken
- Sicherungsscheibe aufstecken und Mutter festziehen.
Kräfte an Schraube und Mutter
Beim Anziehen der Mutter führt die axiale Kraft zu einer Verlängerung Schraube. Die Mutter selbst wird dabei axial gestaucht. Die sich dadurch ergebende Verformung in den Gewindegängen führt dazu, dass die Gewindegänge die Kräfte nicht gleichmäßig aufnehmen: Die Gewindegänge links müssen mehr tragen als die rechts folgenden.

Schrauben anziehen: Vorspannkraft
Zieht man eine Schraube mit dem Schraubenschlüssel an, dann entsteht im Schraubenschaft eine Zugkraft, an den zu fügenden Teilen dagegen entstehen Druckkräfte. FV wird als Vorspannkraft bezeichnet. Beim Anziehen wird über den Schlüssel ein Drehmoment MA erzeugt. MA entsteht aus der Handkraft FH und der Schraubenschlüssellänge r. Die Reibung in der Verbindung wird im Wirkungsgrad µ (mü) zusammengefasst.

Schrauben sichern
Schraubenverbindungen sind durch die hohe Flankenreibung im Gewinde gegen Losdrehen gesichert. Bei statisch belasteten Schraubenverbindungen ist deshalb keine weitere Losdrehsicherung erforderlich.
Ist eine Verbindung aber durch dynamische1), d. h. wechselnde Kräfte belastet, muss sie gegen selbsttätiges Lösen gesichert werden. Solche Sicherungen sind z. B. Federringe, Zahnscheiben und Tellerfedern. Sie werden auch als Setzsicherungen bezeichnet. Verliersicherungen beruhen auf Formschluss und verhindern nach dem Lockern ein völliges Auseinanderfallen der Verbindung; dazu gehören Splinte, Drahtsicherungen und Scheiben mit umbiegbaren Lappen.
Rechenbeispiel:
Eine Schraube M12 ist anzuziehen. Der Wirkungsgrad µ wird mit 0,6 angegeben. Der Schraubenschlüssel hat eine Länge r = 200 mm; er wird mit einer Handkraft FH = 70 N gedreht. Welche Vorspannkraft FV entsteht beim Anziehen der Schraube?
Arbeitsgleichung: Aufgewendete Arbeit W1 = gewonnene Arbeit W2. Die zugeführte Arbeit wird aber durch die Reibung verringert auf 0,6 · W1:
0,6 · W1 = W2
W1: Bei einer Umdrehung entsteht über den Schlüssel die Arbeit W1 = FH · 2 · r · π
W2: Bei einer Umdrehung ist die Arbeit an der Mutter W2 = FV · P (M12 hat eine Steigung P von 1,75 mm); daraus folgt:
0,6 · FH · 2 · r · π = FV · P –> FV = 0,6 · 70 N · 2 · 0,20 m · π : 0,00175 m = 30 159 N.
FV = 30 159 N
1) »statisch« und »dynamisch« sind im Maschinenbau eingeführte Fremdwörter.
(Die folgende Zeichnung ist für die Verwendung in einem Arbeitsblatt gedacht).
So werden Gewinde gezeichnet (Bild unten)
In der (vereinfachten) Darstellung ist zu unterscheiden zwischen Außengewinden und Innengewinden. Oben sind dargestellt
• Außengewinde
• Innengewinde.
In der unteren Zeichnung ist eine Schraube in ein Innengewinde eingeschraubt.
In jedem Fall erhalten Gewinde Anfasungen (Außengewinde) oder Ansenkungen (Innengewinde). Sie erleichtern das Ansetzen der Gewindeschneidwerkzeuge und verhindern ein Aufwölben des ersten Gewindegangs. In den Seitenansichten (3/4-Kreis) werden die Senkungen und Fasen nicht gezeichnet.

Liniendicke: Bei der Verwendung der Liniendicken kann man sich grob merken: Was im Fertigungsablauf zuerst da ist, erhält die fette (breite) Volllinie. Beim Außengewinde ist es der Außendurchmesser, beim Innengewinde der Kerndurchmesser.
Im Vortrag verwendete Fachbegriffe, die speziell mit Schraubenverbindungen zu tun haben:
Arbeit, Arbeitsgleichung, Außengewinde, axiale Kraft, Drahtsicherung, Drehmoment, Durchsteckschraube, dynamisch, Einziehschraube, Federring, Formschluss, Gewindegänge, Gewindeschneidwerkzeug, Handkraft, Innengewinde, Kerndurchmesser, kraftschlüssig, lösbare Verbindung, Reibung, Schraubenschlüssel, Schraubenverbindung, Splint, statisch, Stiftschraube, Tellerfeder, Verliersicherung, Verformung, Vorspannkraft, Wirkungsgrad, Zahnscheibe.
